合作客户/
拜耳公司 |
同济大学 |
联合大学 |
美国保洁 |
美国强生 |
瑞士罗氏 |
相关新闻Info
-
> 不同助剂及浓度对IDK120-025型和LU120-015型喷头雾化效果的影响(三)
> NaOL、HZ组合捕收剂对锂辉石矿物浮选效果、表面张力影响(二)
> 双子型起泡剂ULT-1的分子结构式、表面张力、抗温/抗盐性能及煤样润湿性变化——结果与讨论、结论
> 全自动表面18luck国际无法启动、读数不稳定等常见故障及解决方法
> 镀锡板与涂料的表面张力不匹配导致印铁缩孔,怎么解决?
> 不同温度下水波波速和表面张力系数的关系与计算方法【实验】(一)
> 便携式表面18luck国际和气泡压力法表面张力计介绍
> 硝磺草酮悬浮剂制剂不同稀释倍数的动态表面张力测定结果
> GA、WPI和T80复合乳液体系的脂肪消化动力学曲线、界面张力变化(二)
> 结合药液表面张力与苹果树冠层参数预测喷雾药液用量的方法及应用
推荐新闻Info
-
> 耐擦刮无胶消光膜制备方法、高表面张力与收解卷顺畅性的平衡(二)
> 耐擦刮无胶消光膜制备方法、高表面张力与收解卷顺畅性的平衡(一)
> 利用超微量天平制备微孔淀粉处理含Cu(II)离子染料废水
> 不同类型的碱、pH值对孤东油田原油界面张力的影响(下)
> 不同类型的碱、pH值对孤东油田原油界面张力的影响(上)
> 不同结晶结构的脂肪晶体颗粒界面自组装行为、储藏稳定性研究
> 新型POSS基杂化泡沫稳定剂表面张力测定及对泡沫压缩性能的影响(三)
> 新型POSS基杂化泡沫稳定剂表面张力测定及对泡沫压缩性能的影响(二)
> 新型POSS基杂化泡沫稳定剂表面张力测定及对泡沫压缩性能的影响(一)
> 多功能膜材研发:界面张力已成为整套工艺链协同下动态演化的核心控制点
不同温度下水波波速和表面张力系数的关系与计算方法【实验】(一)
来源:大学物理 浏览 1137 次 发布时间:2024-09-09
根据水波波速与其表面张力的理论关系,自行设计实验于不同温度下测量多组数据进行验证,并分析实验结果。实验中自制U型管测量液体表面张力,并通过录制视频的方式来记录水波传播过程,且创新地将正在计时的秒表一同录入视频中,提高了测量精度。在电脑上单帧播放视频,在每帧画面中读出水波波峰的位置以及当前时刻,用波峰前进距离除以时间得到波速。该实验改良了传统测量方法,思路清晰,设计新颖,具有操作简单,测量精度高的优点。
水波是生活中常见的一种物理现象,其性质的研究更是大学物理实验中重要的组成部分。通过研究水波的性质,可以比较容易地观测和研究干涉、衍射等波动特性。但在实际的实验操作中,由于水波的传播速度不易测量、水波中质元的运动情况较为复杂,使目前对水波波速的研究相对较少,在大学物理教学中也浅尝辄止。众所周知,水波的传播速度与介质的特性有着密切的关系。对于水的表面波,主要由水的重力和表面张力为其提供回复力。当波长较小时,回复力中表面张力起主要作用。所以水波的传播速度与其表面张力息息相关,研究两者的关系可以使对水波的性质有进一步的了解。目前大学物理实验中主要采用拉脱法测量液体表面张力,该方法测量原理简单,测量装置容易获得。但测量过程中须保证玻璃管刻线、平面镜刻线以及玻璃管刻线在平面镜中的像线“三线合一”,同时要求在读取水膜破裂瞬间的刻度值,导致初试者难以把握操作要领,人为引入较大误差。对于水波的传播速度,之前有人在实验中利用硅光电池和激光器,通过测量激光在水中折射后光强的变化测量水波波速。但实验步骤较为复杂,且易受到周围环境中光源和振动的干扰。
针对以上问题,本文通过改进实验参量的测量方法来提高测量精度。对于水的表面张力,利用自制的U型管测量表面张力系数,测量过程简单快捷,避免了拉脱法等传统方法中对拉脱瞬间的判断和实验手法不够娴熟带来的偶然误差。对于水波波速,首先将水波波纹投影在纸张上,然后将投影与正在计时的秒表一同录制成视频,之后在电脑中单帧播放,得到波峰位置及对应时刻,从而用波峰前进距离和时间来计算波速。最后改变水温,测量不同温度下的表面张力系数和波速,得到多组数据,误差范围符合大学物理实验要求,最终较好地验证了水波波速和表面张力系数的关系。
1、实验原理与方法
1.1水波波速与其表面张力的关系
大学物理实验中,水波实验所研究的多为表面波。当波动主要存在于液体表面时,产生的水波称为表面波。当理想流体的表面受到微扰动,如滴入一滴水时,就会产生液体表面波。此时波动的回复力主要由重力和表面张力提供。当波长大于10 mm时,重力起主要作用;当波长小于10 mm时,表面张力起主要作用。根据流体力学中的知识,可以得到
故th(kh)趋近于1,此时表面波波速v即可写成(2)此式反映了波长较小时水波的表面波波速与其表面张力系数的关系。又因为表面张力系数与温度有密切关系,通过测量不同温度下的波速v、波长λ和表面张力系数α,便可以通过实验验证该公式的正确性。
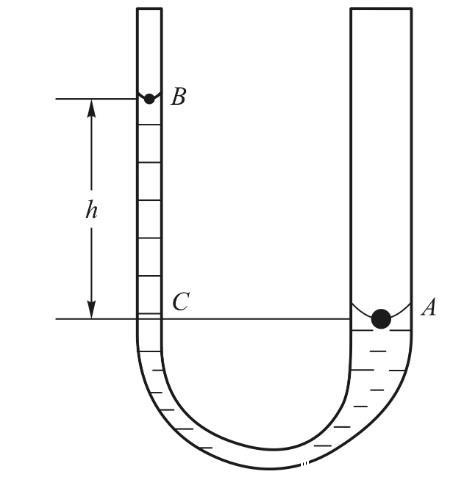
1.2利用U型管测量液体表面张力系数
不等径U型玻璃管原理图如图1所示,其两端为顶端开口的竖直管,内径分别为D1、D2.U型管中装有待测液体,当液体静止时,会在两端竖直管内形成凹液面。由于玻璃管内径较小,可以将竖直管内的凹液面可近似地看成直径为D1、D2的半球面。
图1 U型管测量表面张力系数
对于弯曲液面,由拉普拉斯公式可得
pc为液面下C点处的压强。此外,在流体静力学中,当液体静止时U型管内液面下A点与同水平面的C点压强相同,即Pa=Pc.所以综合以上各式可得
根据式(8),只需测量两竖直管的直径D1、D2以及管中凹液面的高低差h,便可以计算出待测液体的表面张力系数。
为降低实验成本,使实验便于推广,实验中利用橡胶软管和两根内径不同的玻璃管自行制作U型管。首先取两根内径不等的长约20 cm的直玻璃管,一根长20 cm的橡胶软管。用读数显微镜分别测量玻璃管的内径,记为D1、D2.然后用蒸馏水将玻璃管和橡胶管洗净,然后用橡胶管将两根玻璃管连接起来,组成不等径U型管。实物图如图2所示。
图2 U型管实物图
1.3录制波纹光投影视频测量水波波长和波速
当水滴滴入水中时,会在水面产生一组水波,水波以同心圆的形状传播出去,由于振动振幅较小,此时的水波可以认为是水的表面波。对于这种非连续的波,可以通过测量波峰前进距离和所经历的时间来计算波速,同时通过测量同一组水波相邻波峰间的距离可以得到波长。
由于水波传播速度较快,难以直接观测水波的传播情况和波峰位置。实验中通过录制视频的方式来观测水波传播的过程。首先将透明水槽放置在固定高度的底座上,在水槽下方放置光源。水波波动时表面的起伏会像凸透镜、凹透镜一样将光线会聚或发散(图3),此时在水面上方放置整洁的纸张作为屏幕承接光线,便可以看到明暗相间的区域,分别对应水波的波谷和波峰。同时,若将透明的刻度尺放入水中,则可以将刻度尺一同投影到屏幕上,从而测量出水波的位置数据。然后,将摄像设备(手机及手机支架)放置在屏幕上方拍摄屏幕上水波的光投影(图4),记录水波传播的过程。最后,使用电脑单帧播放录制的视频,从而放慢水波传播的过程以便于准确测量波峰位置。此外,由于水滴滴落时形成的是形如同心圆的一组水波,便可以在单帧画面中测量多个相邻波峰的位置得到波长。
在时间测量方面,考虑到视频本身所标定时间的可靠性难以保证,为提高时间测量精度,实验中将正在计时的秒表一同录入视频中。这样在电脑上单帧播放视频时,由于将秒表一同录入视频,每帧画面中读取波峰位置的同时还可以读出当前时刻,从而得到准确对应的波峰位置和时刻。然后从多帧画面中分别读取波峰位置和对应时刻,计算出波峰前进距离和对应时间间隔,进而用波峰前进的距离除以时间得到波速。
图3水波对光线的汇聚与发散
图4产生波纹投影的水槽(左)和录制视频的手机(右)
